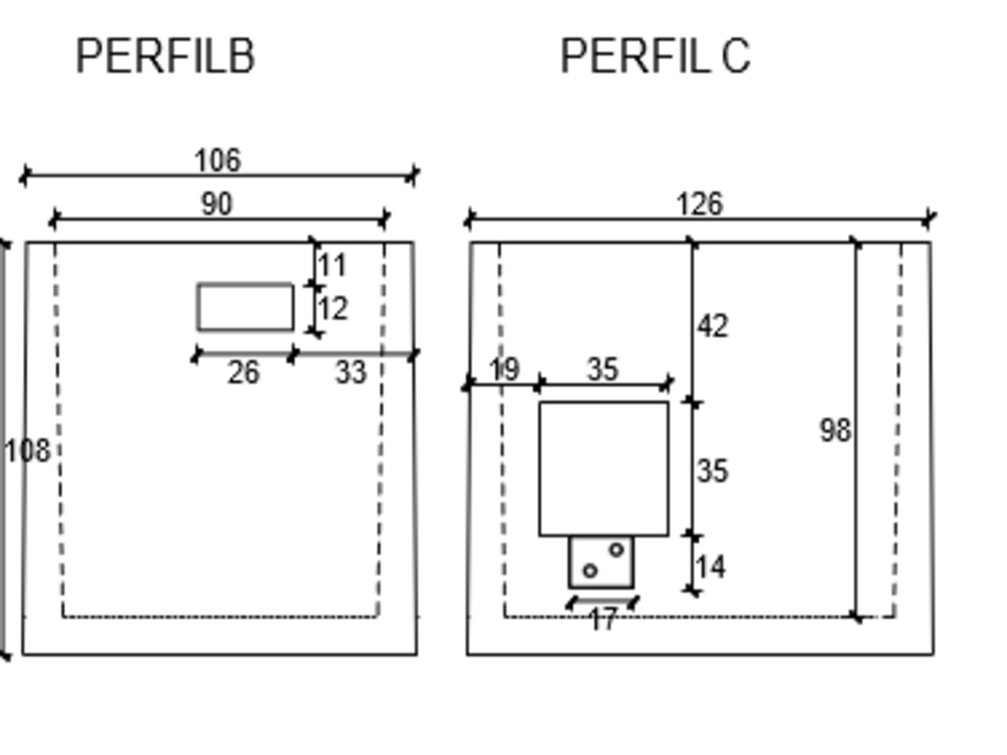
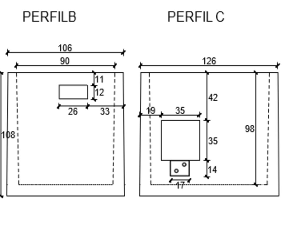
30015 Arqueta Tipo D. 110x90x98 cm
Urbanización Arquetas e inbornalesSegún C.T.E.(Código Técnico de la Edificación.)
Peso/ud:
1200kg
Uds/trailler(25 Tn) :
20 uds
Solicita presupuesto para el producto 30015 Arqueta Tipo D. 110x90x98 cm.
Por favor, rellena el siguiente formulario y nos pondremos en contacto contigo lo antes posible.
Productos relacionados
Quizás también te interese tener en cuenta estas posibilidades
